Screw clamp for hanging the hook of a lever block when building vessels and manufacturing(attachment and press) construction plants and also for horizontal lifting during the press process.

NPC-D Screw Clamp

· How to use

Insert a steel plate into the inside end of the clamp's jaw opening and then completely tighten the screw.



· Application

A screw clamp for hanging the hook of a lever block when building vessels and manufacturing(attaching) construction plants.

· Features

The NPC-D is a screw clamp used to prevent accidents caused by the widening, slipping or breakage of the hook because the load is concentrated at the end of the hook when hanging the hook of a lever block and a chain block directly on a work piece.

The NPC-D is a convenient and efficient clamp with the shackle which rotates 360° right and left, making work possible in all directions(up and down, left and right).

· Warning

Do not exceed the rated capacity specified on the clamp.

Use a work piece only which falls within the jaw opening range specified in the instruction manual.

If the load is placed laterally, not straightly, on the eye hole, use only 1/2 of the rated capacity.

Never lift a work piece with this model

For horizontal lifting, the clamping point must be two or more. When clamping, the clamps must face each other, not look in one direction

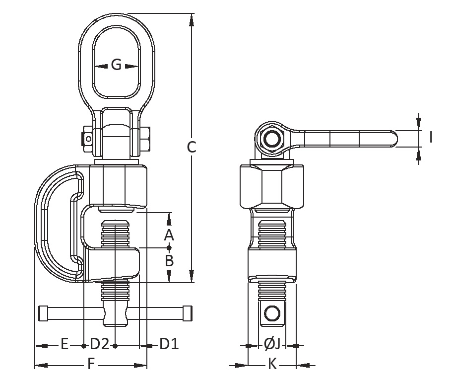
· SPECIFICATION:

WLL(TON) Jaw Opening A B C D1 D2 E F G I øJ K Weight (Kg)
1.5 0-25 30 34 248 20 30 46 104 38 15 28 44 3.5
2 0-30 35 36 264 22 35 48 110 40 16 30 48 4.2
3 0-35 40 40 286 27 43 52 130 45 18 34 56 6.0
5 0-50 55 52 360 35 55 62 155 55 28 40 70 13.1